窪田 義夫 さんの発明・アイデア

    連絡先:()長野県上田市大字保野73番地3
     (TEL):0268-38-5554
     E-Mail:
こちらまで


アイデア名:脚部支持調節台
        並びに脚部支持調節ベッド

出願の有無:特願2000−160096 
      特開2001−340393  実施許諾:可

【アイデアの写真・図面】
                     
(代表図)

2000-160096.jpg

【アイデアの説明
                     
【課題】足を高く上げたまま楽な姿勢を取れるように、
体型に合わせて大腿部を支持する床部分の長さ調節を可
能にして、軽くて、コンパクトな取り扱い易いものにす
る。
【解決手段】床部2を大腿部を支持する前床部6と、下
腿部と足を支持する後床部7とに分割し、その前床部6
に長さの調節が可能な長さ調節手段9、10、11を用
い、前床部6の前端部と底部の前端部間に軸を介在して
連結し、更に前床部6の後端部と後床部7の前端部間
に軸を介在して連結し、その前後床部6、7を底部上に
折り重ねて設置して、その床部2と底部との間に床部2
の高さを調節する高さ調節用支持部材5等を介在する。



アイデア名:体脚部用高さ調節型
                 簡易ベッド

出願の有無:特願2002−166112 
      特開2004−008472  実施許諾:可

【アイデアの写真・図面】
                     
(代表図)

2002-166112.jpg

【アイデアの説明
                     
【課題】足を高く上げた状態のまま楽な姿勢が取れるよ
うに、体脚部を乗せる床部の高さ調節を可能にし、軽く
て、コンパクトな取り扱い易いものにする。
【解決手段】体脚部を乗せる床部2を支持する前後脚部
3、4をいずれも高さ調節自在型にして、床部2を大腿
部を乗せる前床部2aと、下腿部と足を乗せる後床前後
部2b1、2b2とに3分割する。そして、前床部2a
と後床前部2b1とを折り重ね・戻し自在に結合し、後
床前後部2b1、2b2を折り重ね・戻し自在に結合し
前床部2aの後端付近に前脚部3を前床部2aに折り重
ね・戻し自在に結合し、後床後部2b2の後端付近に後
脚部4を後床後部2b2に折り重ね・戻し自在に結合す
る。



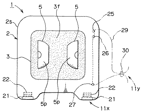
アイデア名:指圧器

出願の有無:特願2003−046889 
      特開2004−254804  実施許諾:可

【アイデアの写真・図面】
                     
(代表図)

2003-46889.gif

【アイデアの説明
                     
【課題】十分な指圧効果を得るとともに、汎用性を飛躍
的に高める。また、低コスト性,小型コンパクト性,設
置性,保管性及び携帯性を高める。
【解決手段】人体Hの腰Ha又は背中Hbを指圧する指
圧器1を構成するに際して、椅子Cの背凭部Crに重ね
て設置できるように板状に形成し、かつ前面に着脱面部
3を設けたベース部2と、着脱面部3の任意の位置に着
脱する被着脱面部4を裏面に設け、かつ表側に指圧用突
起部5p,5pを設けた一又は二以上の指圧用駒部5,
5を備える。この場合、指圧用駒部5,5は、先端に平
面部(又は曲面部)5sを有する円錐状盤12を径方向
に二分割して形成することができる。



アイデア名:方形状収納形脚台

出願の有無:平成17年11月実用新案出願  実施許諾:可

【アイデアの写真・図面】
                     
(代表図)

UH171101.gif

【アイデアの説明
                     
【目的】人体の両脚を載置する脚台の脚体を、強固であ
って高さを調節できるものとし、しかも、どのベッドに
も利用できる大きさと可搬性があって容易に組立てられ
不使用時には全構成部品を炬燵板状の大きさに収納し得
ることを目的とする。
【構成】仰臥状の臀部近傍から後大腿部21を膝窩部ま
で上方へ傾斜して載置する前方台1と、腓腹部22と踵
部23を載置する後方台5とで成る方形の脚台において
結合用凸部9とそれに嵌着する結合用凹部10で連結す
る複数の角細棒体13を、後方台5の後方台前辺6と後
方台後辺7に平行状に必要本数を垂直に連結して高さを
調整する2組の脚体11と成し、1組を後方台5の後方
台前辺6近傍に、他の組を後方台後辺7近傍へ着脱自在
に設け、更に、後方台5の裏面側に全部品を収納し得る
構成とした方形状収納形脚台。