竹花 伍男 さんの発明・アイデア

    連絡先:(386-0403)長野県小県郡丸子町腰越43
     (TEL):0268-42-2274
    E-Mail:
こちらまで


アイデア名:垂直軸型翼車装置

出願の有無:特願2003−436810 
      特開2005−188494  実施許諾:可

【アイデアの写真・図面】
                     
(代表図)

2003-436810.gif

【アイデアの説明
                     
【目的】従来の垂直軸型風車装置の翼は回転軸に固定さ
れていて、翼が風上側から回って戻る時に、翼の裏側へ
の風圧抵抗が大きい欠点があった。これを解決のため回
転軸から放射状に出たアーム先に夫々翼を配置させ、風
向検知手段の指示で夫々の翼の角度を風向に合せるよう
に適宜変更できるようにしたものがあるが機構が複雑で
高価である。
【構成】回転軸1を中心とし直交するように上下に翼回
転軸支持体2を間隔を有して平行に設け、両翼回転軸支
持体2の間隔間の周縁辺部に回転軸1と平行な翼回転軸
3と翼衝止棒体4を立設し、翼回転軸3を芯として自在
に回動、少なくとも一部分が回動して翼衝止棒体4に衝
止し、高さが翼回転軸3に近い長方形状の翼5を設けた
翼回転軸3・翼衝止棒体4・翼5で基本単位を構成し、
この基本単位と隣の基本単位とは等間隔に複数組を配設
して成ることを特徴とする垂直軸型翼車装置。



アイデア名:ねじ画鋲

出願の有無:実用新案第3104108号  実施許諾:可

【アイデアの写真・図面】
                     
(代表図)

U3104108.gif

【アイデアの説明
                     
【課題】従来の画鋲は、針先が鋭角針のため、掲示対象
物に掲示物を、掲示する際に、刺し込み易い対象物は、
抜けやすく、刺し込み難い対象物は、抜き難い難点があ
った。このため、掲示対象物を選ぶことなく、刺しこみ
易く、抜きやすく、しかも、掲示対象物を痛めることな
く、掲示物を長期に渡り安全に掲示できるようにする。
【解決手段】ねじ画鋲であり、針先はねじ針1で、ねじ
頭2は、丁字又は円盤状で、円柱3の中心に回転しない
ように挿入される、その円柱3に、垂直するツマミ4で
構成したことを特徴とする、ねじ画鋲。




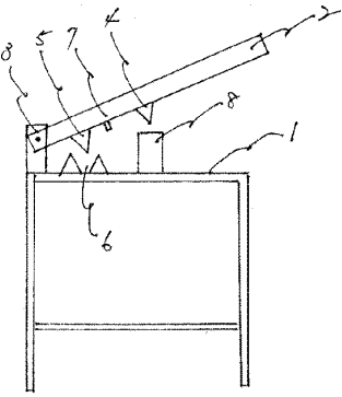
アイデア名:空缶圧縮器

出願の有無:特願2002−245969 
      特開2004−050285  実施許諾:可

【アイデアの写真・図面】
                     
(代表図)

2002-245969.gif

【アイデアの説明
                     
【課題】空缶の形状を変形しやすい筒状に変えて、圧縮
する空缶圧縮器を提供する。
【解決手段】架台1を設ける、梃子腕2は架台1の片端
に回転軸3で可動するように装着し他端は上下に運動す
る、その梃子腕2の中央下部に空缶8の底面を開口する
ための鋭角突起4を設ける梃子腕2の下部に直角交叉す
る三角柱型圧縮体5を設ける、その三角柱型圧縮体5と
合体するように谷型空缶受け部6を架台1の上面に設け
る。鋭角突起4の直下で架台1の台上に空缶の底面を上
向きに置き梃子腕2を押し下げると梃子の作用で鋭角突
起4は空缶底面に突き刺さり貫通開口される、その空缶
を谷型空缶受け部6に臥す置きしたのち梃子腕2を押し
下げると梃子の作用で空缶8は簡単に圧縮減量される。



アイデア名:生ゴミ乾燥機

出願の有無:特願2002−284495 
      特開2004−082083  実施許諾:可

【アイデアの写真・図面】
                     
(代表図)

2002-284495.gif

【アイデアの説明
                     
【課題】従来の生ゴミ乾燥機は熱風乾燥機がほとんどで
家庭から排出される生ゴミを衛生的で簡単、安全、安価
に家庭で乾燥処理する、搬送、焼却が容易で堆肥化もで
き家畜の飼料としても利用できる。
【解決手段】生ゴミを効率よく強制乾燥する手段であり
電動換気扇1篩い支持台2箱枠3より構成され、箱枠3
の上下は空洞でその内部に複数階層の篩い支持台2を設
ける、その箱枠3の上部又は下部に電動換気扇1を設け
る、箱枠3の側面の一部に生ゴミを出し入れするため開
閉用の蓋部4を設けた構造で、篩い5に散布した生ゴミ
を前記の生ゴミ乾燥機に入れて電動換気扇1の電源をO
Nすると換気扇により強制乾燥するよう解決した。